Produktbeschreibung
Elektronische Regler PRIME für Normal- und Tiefkühlung Direkte Stromversorgung 230 (110) Vac, kein externer Trafo erforderlich Verdichter-Relais (20A) für Leistungen bis 1,2 PS Ausgesprochen einfache und intuitive Installation: verringerte Anzahl an Parametern und Vorprogrammierung der Hauptvariablen für die Steuerung Zusätzliche Funktionen: Tastensperre, Alarmmanagement (optisch – Relais – akustisch) Konfigurierbarer digitaler Eingang (Türkontakt, Synchronabtauung, genereller Alarm, Sperralarm) Ausgang mit Hilfsrelais (aktivierbar durch Tastatur oder digitalem Eingang) Einfache und schnelle Programmierung mit Hot Key HACCP-Funktion Max. Leistungsaufnahme 3VA Display mit roten LED mit 13,2mm Höhe
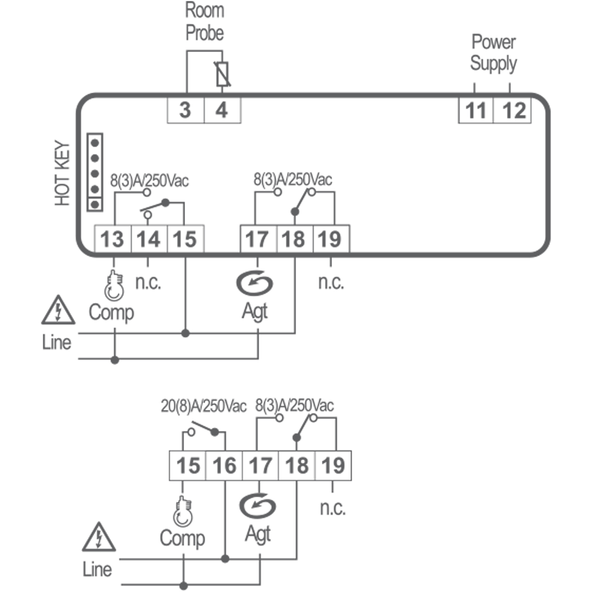
Schaltschema
Technische Merkmale
Merkmale
| Display: Anz. Ziffern | ± 3 d.p. |
| Spannungsversorgung | 24, 110, 230Vac |
| Tastatur: Anz. Tasten | |
| Akustischer Alarm | |
| Slave-Modul | |
| Erstes Display: Anz. Ziffern | |
| Zweites Display: Anz. Ziffern | |
| Display | |
| Format | |
| Fühlereingänge | |
| Optoisolierte Digitaleingänge | |
| Konfigurierbare Relaisausgänge | |
| Messbereich | |
| Regelung Eingänge | |
| Direkt-invers-Wirkungsweise | |
| Max. Drehzahl bei Netz ein | |
| Triggersignal | |
| Mindest-Drehzahl | |
| Drehzahl 0 | |
| Schutzgrad Höchstlast | |
| Eingangsregelung | |
| Alarmrelais | |
| Hilfsausgang | |
| LED für | |
| LED für Alarme | |
| LED für aktives Relais |
| Analog | |
| Digital (Versorgungsspannung) | |
| Digital (Potentialfrei) | |
| Fuhler |
| Thermostat | NTC, PTC |
| Thermostat 2 | |
| Abtauung | |
| Abtauung 2 | |
| Verflüssiger | |
| Saugdruck | |
| Saugtemperatur | |
| Ausgangstemperatur der Flüssigkeit | |
| Display | |
| Hilfsrelais | |
| Enddruck | |
| NTC, PTC, Pt100, TcJ, TcK, TcS, 4÷20mA, 0÷1V, 0÷10V | |
| Saugleitung | |
| Saugleitung 2 | |
| Verflüssigung | |
| Konfigurierbar | |
| 0÷1V, 0÷5V, 0÷10V, 0÷20mA, 4÷20mA, NTC, PTC, DI | |
| Feuchte | |
| Pb1 | |
| Pb2 | |
| Pb3 | |
| Pb4 | |
| NTC/PTC | |
| NTC/PTC/4÷20mA/0÷5V |
| Alarm, Abtaustart, Hilfsrelais, Türkontakt, Pressostat, Fühler | |
| Alarm, Abtaustart, Hilfsrelais, Türkontakt, Pressostat | |
| Alarm, Abtauung, Hilfsrelais, Türkontakt, Pressostat, AN/AUS, Energiesparmodus | |
| Potentialfrei | |
| Hochspannung | |
| Licht, AN/AUS, Ferienbetrieb | |
| Energiesparmodus | |
| Niederdruckpressostat | |
| Konfigurierbar | |
| Optoisoliert | |
| Wärmesicherung, Türkontakt | |
| N° 3 + 1(Pb4) | |
| Alarm |
| Verdichter | no 8A/nc 5A, 20A |
| Verdichter 2 | |
| Thermostat 2 | |
| Abtauung | |
| Abtauung 2 | |
| Lüfter | |
| Beleuchtung oder Alarm | |
| Antikondensat | |
| Hilfsrelais | no 8A/nc 5A |
| Alarm | |
| Alarm oder Hilfsrelais | |
| Heizen | |
| Licht | |
| Ausgang 1 | |
| Ausgang 2 | |
| Ausgang 3 | |
| Ausgang 4 | |
| Lasten | |
| Konfigurierbar | |
| Abtauung, Abluftventilator | |
| Heizung | |
| Befeuchtung | |
| Entfeuchtung, Licht | |
| Last | |
| RL1 Verdichter 1 | |
| RL2 | |
| RL3 | |
| RL4 | |
| RL5 | |
| 5A |
| Temperaturalarm | |
| Ausgang Hot Key/Prog Tool Kit | pres |
| Ausgang Fernanzeige | |
| Serieller Ausgang | |
| Akustischer Alarm | opt |
| Echtzeituhr | |
| Funktionen | min/max |
| Ausgang für Ventilsteuerung | |
| Ausgang Fernsteuerung | |
| Signalwiederholung über LAN | |
| Eingang Backup-Batterie | |
| Ausgang 4÷20mA/0÷10V | |
| Ausgang PWM | |
| Anschlusskit | |
| Digitaler Eingang | |
| Analoger Ausgang | |
| Fernsteuerung | |
| Flash-Speicher | |
| Verbindungen | |
| Protokoll BACnet | |
| Ausgang Display/Fernsteuerung | |
| Serielle Adressen | |
| Integrierte Uhr | |
| Anschlüsse | |
| Anschlussset | |
| BACnet®-Protokoll | |
| Justierung | |
| Triac eingebaut | |
| Tastatur | |
| Buzzer | |
| Expansionsmodul | |
| Alarme |
| 0÷10V/4÷20mA | |
| 0÷10V | |
| RS485 | |
| USB | |
| CANBus | |
| Ethernet | |
| Visokey | |
| LAN/RS485 | |
| Verdichter DigitalTM | |
| Inverter-Verdichter | |
| Inverter-Lüfter | |
| Last | |
| Hot Key/Prog Tool Kit | |
| Seriell | |
| Analoger Ausgang für Verflüssigerlüfter | |
| Signal für Verflüssigerlüfter | |
| Spannungsausgang für zusätzliches externes Relais | |
| TTL/Hot Key 64/Prog Tool Kit | |
| Analogs | |
| LAN | |
| PWM Module | |
| 4÷20mA/0÷10V for Drehzahllüfter | |
| 0÷10V Gebläsesteuerung | |
| Externes relais RS485 | |
| TTL / RS - 485 mit Mod-BusRtu-Protokoll |
DOKUMENTE
EXTRAS & ZUBEHÖR






























